Standart Havuz Merdiveni 304 Kalite
Paslanmaz Çelik Havuz Merdiveni
Paslanmaz çelik havuz merdiveni, yüzme havuzlarına güvenli bir şekilde giriş ve çıkışı sağlamak için kullanılan, paslanmaya karşı dayanıklı çelikten üretilmiş özel bir merdiven türüdür.
Havuz Merdiveni
Paslanmaz çelikten üretilen bu merdivenler, hem havuz suyundaki klor gibi kimyasallara karşı dayanıklı hem de dış mekân şartlarına karşı uzun ömürlü olacak şekilde tasarlanır. Aynı zamanda şık görünümleri sayesinde estetik açıdan da havuz tasarımına katkı sağlar.
Havuz Merdiveni Ne İşe Yarar?
- Güvenli Giriş-Çıkış: Özellikle yaşlılar, çocuklar veya hareket kabiliyeti kısıtlı kişiler için havuza kolay ve güvenli erişim sağlar.
- Denge ve Tutunma: Islak zeminlerde kayma riskini azaltır, kullanıcıya destek olur.
- Standart ve Konfor: Havuzun kullanım kolaylığını artırır ve çoğu yapıda standart bir ekipman olarak yer alır.
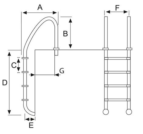
Paslanmaz çelik Ø43 mm borudan mamül paslanmaz çelik; genişlik 51 cm rozetleri ve montaj parçaları ile birlikte.
| Standart Paslanmaz Çelik Merdiven | ||
|---|---|---|
| Malzeme Cinsi | Koli / Ebat | Kg / Adet |
| 3 Basamaklı Standart Merdiven | 0,66 x 1,63 x 0,06 | 11,50 |
| 4 Basamaklı Standart Merdiven | 0,66 x 1,88 x 0,06 | 13,50 |

| Teknik Özellikler | |||||||
|---|---|---|---|---|---|---|---|
| Basamak | A | B | C | D | E | F | G |
| 3 | 720 | 710 | 250 | 800 | 170 | 500 | 505 |
| 4 | 720 | 710 | 250 | 1050 | 170 | 500 | 505 |
Profesyoneller ya da bireyseller için yüksek kaliteli markaları, teknolojiye uygun ürünleri havuzdan.com olarak Türkiye’nin dört bir yanına sunmaktayız.
Ev havuzu, yüzme havuzu, olimpik havuzlar, bahçe havuzları, göletler ve tüm havuz ihtiyaçlarınızı tam ve eksiksiz sağlayabilmek için bir telefon kadar yakınınızdayız.